

1,本实用新型涉及新能源汽车、充电桩设备技术领域,尤其涉及一种基于红表测距探测技术的新型充电桩。
2,新能源汽车作为国度激励和沉点搀扶的行业,电动车充电桩的数量也越来越多,车辆占用电动车充电车位并撞坏充电桩的事件时有产生,给电动车主停车带来不便的同时,也增长了充电桩的维建率,电动车位上车辆距离鉴别是电动车运营智能治理的沉要部门。
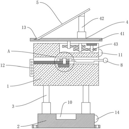
3,本实用新型的主张是为相识决现有技术中问题,而提出的一种基于红表测距探测技术的新型充电桩,本实用新型结构设计合理,选取太阳能作为补充电源,节约能源,同时拥有优良的散热成效,可能有效的调节红表测距装置的监测角度,便于增大红表测距装置的监测领域,大大提高了新能源汽车车主的使用履历。


联系地址:
联系邮箱:
联系手机:
公司总机:
产品中心








